SPIRA (Scanning Polarimetric Imaging Radiometer)
Airborne Sensors
SPIRA (Scanning Polarimetric Imaging Radiometer)
SPIRA is a passive polarimetric imaging radiometer operating at 91 GHz (W-band). The overall objective is to obtain signatures of the brightness temperature distribution of the Earth's surface in all four Stokes parameters. Collectively, the four Stokes parameters provide a complete characterization of the Gaussian-random electromagnetic field (i.e., full scattering matrix), a prerequisite for the interpretation of microwave data.
A radiometric sensitivity of < 1 K is achieved with a superheterodyne receiver at a bandwidth of 2 GHz, millisecond (ms) sampling time and post-measurement digital integration. The antenna has been designed with special attention paid to the minimization of measurement errors due to side lobes and cross-polarization. A scanning subsystem makes maps in azimuth and elevation, that are presented in the form of images. 1) 2) 3) 4) 5) 6)
SPIRA is a Ground-Based Instrument
Funded by the Swiss Army (armasuisse). The development of SPIRA started in November 2002 at the Institute of Applied Physics (IAP) of the University of Bern, Switzerland. First tests of the SPIRA observation measurements started in March 2006.
The requirements call for an instrument design permitting observations at various locations. This implies a transportable structure which can be handled by two persons along with short-period setup capabilities. The instrument is comprised of the following major elements as shown in Figure 2:
- A polarimetric imaging radiometer consisting of a dual-channel superheterodyne receiver assembly along with an analog correlator for the extraction of the four Stokes parameters
- Parabolic offset antenna (90º) with an aperture diameter of 45 cm (focal length of 70 cm) and a corrugated horn feed
- Scanning subsystem consisting of high-precision elevation and azimuth drives (0.018º and 0.09º respectively)
- Calibration subsystem with a hot load at ambient temperature and noise diodes in each channel
- A PC for instrument monitoring and control and data acquisition (a Linux operating system is employed)
- Power supply.
The current SPIRA instrumentation has a mass of about 100 kg and a power consumption of ~800 W (not optimized for power consumption). The structure has a span width of bout 1.8 m.

SPIRA samples the brightness temperature of a scene in 2D with a mechanical scanner, using a 90º offset parabolic antenna with an angular resolution of 0.5º. The reflector is rotated about two orthogonal axes (elevation and azimuth), taking an image FOV of 30º x 30º (120 x 120 pixels) within a period of 600 s. The offset parabolic antenna is illuminated by a corrugated horn, achieving a main beam efficiency of 92% with 1.5 % of cross-polarization.
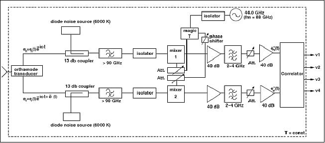
The two orthogonally polarized radiation field components, picked up by a dual-polarized horn, are separated by an orthomode transducer with 30 dB isolation, which are pumped with a common LO (Local Oscillator) to ensure phase coherence between the signals. The down-converted and amplified signals are fed into a a broadband analog correlator (2-4 GHz), consisting of hybrid couplers and quadratic tunnel diode detectors. The receiver and correlator are thermally stabilized.
W-Band Subsystem
The antenna feed has been designed as a corrugated horn with a circular aperture and output wave-guide. Thus the two orthogonally polarized field vectors can be separated by an orthomode transducer with the measured isolation of more than 30 dB. The horizontal and vertical polarization components eh(t) and ev(t) are referenced to the instrument orientation. They are further guided through the separate branches to the subharmonic mixers.
For single-sideband operation high-pass filters attenuate the lower side-band (84 - 86 GHz) by more than 30 dB. Although the noise performance of the radiometer is degraded, operation in this mode is necessary as the signals from both side bands would superpose in the correlator, and information on the polarization would be lost. The total measured loss introduced by the W-band components from the orthomode transducer to the mixer inputs is ~4 dB, which together with the mixer/IF-amplifier noise temperature results in a total system temperature of approximately 4500 K.
IF Subsystem
The signals at intermediate frequencies are amplified by two low-noise amplifiers with a noise figure of 0.6 dB and a gain of 40 dB. Out of band parasitic signals are filtered with a bandpass filter. The signals are then processed by the correlator network and tunnel diode detectors, the latter having a good quadratic behavior and high temperature stability.
Correlator
The correlator network consists of several hybrids with octave bandwidth (2-4 GHz). The output voltages of the quadratic detectors are proportional to their input power.



For a temperature resolution of < 1 K, the gain must be calibrated every 2-4 scans in the field, which is dependent on ambient temperature, solar radiation and wind conditions, due to imperfect thermal insulation of the instrument support and the calibration load.
Instrumental polarization (exclusive reflector cross-polarization), which is due to unavoidable imperfections of the system components, is corrected by an experimentally determined polarization calibration matrix. It is used to derive the Stokes parameters of the observed scene from the measured ones.
The calibration system consists of two reference loads, a wire grid for combining their radiation (< 0.3% cross-polarization), and a retarder plate for generating nearly circular polarization. The polarimetric calibration is being performed infrequently, due to the fact that the gain is being calibrated during each radiometric calibration.


Conclusions and Outlook
• The instrument polarimetrically calibrated with ~ 2 % error (ex. antenna)
• Antenna aligned and measured comparisons with simulations show good agreement
• First measurements on various targets successfully conducted
• Due to the antenna beam squint for circular polarization the errors in the V parameter turn out to be larger than expected
• Radiometric calibration - improvement with insulating the absorber
• Thermal insulation of receiver and support for better gain stability
• Image processing and interpretation.
As of 2008, SPIRA is not considered for an airborne or spaceborne implementation.
References
1) A. Duric, A. Magun, "SPIRA - A Scanning Polarimetric Imaging Radiometer in W-band," 8th Specialists Meeting on Microwave Radiometry and Remote Sensing Applications, Feb. 24-27, 2004, University of Rome, Italy, URL: http://www.iap.unibe.ch/publications/download/824/en/
2) A. Duric, M. Mallepell, M. Wütrich, D. Weber, A. Magun, "Fully-Polarimetric Passive Scanning Imager at Millimeter Wavelengths," SPIE Passive Millimeter-Wave Imaging Technology VIII, Orlando, Florida, USA, March 30,.2005, ed.: R. Appleby, D. A. Wikner , Vol. 5789, pp. 35-43, 2005
3) A. Duric, A. Magun, "Polarization Measurements with a Fully Polarimetric Imaging Radiometer at 91 GHz," 4th ESA Workshop on Millimeter-Wave Technology and Applications, 8th Topical Symposium on Millimeter Waves TSMMA2006, 7th MINT Millimeter-Wave International Symposium-MINT-MIS2006, WPP-258, Feb. 15-17, 2006, Espoo, Finland, pp. 365-370, URL: http://www.iap.unibe.ch/publications/download/2769/en/
4) A. Duric, P. Fürholz, A. Murk, A. Magun, "Far- and Near-Field Antenna Measurements of a Passive Scanning Polarimetric Imager at Millimeter Wavelengths," Proceedings of the AMTA (Antenna Measurement Techniques Association) Europe Symposium 2006, Munich, Germany, May 2-4, 2006 , URL: http://www.iap.unibe.ch/publications/download/2769/en/
5) First results with the scanning polarimetric imaging radiometer SPIRA at 91 GHz," URL: http://www.iap.unibe.ch/publications/download/2771/en/
6) A. Duric, B. Hitz, A. Murk, C. Maetzler, "Correction of the Off-Axis Reflector Beam Squint in Passive Images of the Fourth Stokes Parameter at 91 GHz," Proceedings of the Second European Conference on Antennas and Propagation (EuCAP 2007), Edinburgh, UK, Nov. 11-16, 2007
This description was provided by Herbert J. Kramer from his documentation of: "Observation of the Earth and Its Environment: Survey of Missions and Sensors" - comments and corrections to this article are welcomed by the author (eoportal@symbios.space).